Stainless steel MIG/GMAW quality - work lost overseas

Introduction - current context

Skip this section if your sole interest is the stainless-steel MIG/GMAW welding.

My current concern ("fear") is that Aluminium-MIG (Aluminum-GMAW (N.Am.)) production will be lost overseas from UK weld-fabrication shops, especially boatyards/shipyards, if performance is not significantly improved here in Britain. Hence currently I am "floating" this project: Ali MIG/GMAW welding with quality control . Which intends to eliminate the shortcomings.

I met an almost identical case 5 years ago, with stainless-steel MIG (GMAW) welding.
A chance encounter a few days ago, in the earliest days of 2023, delivered me the information that that production has moved overseas. Due to systematically "poor quality" (polite circumlocution) welding.

There is identical root-cause to both the "MIG stainless-steel" and "MIG aluminium" quality issues. Hence this hopefully "loud-and-clear" message...

Which is

in place of has emerged in the absence of proper vocational and other training in the UK; causing this immense damage in the UK.

Bogus response to "heat-input" due to rote-learning and irrational non-comprehending orthodoxies identically matches for aluminium and stainless-steel. What is then done wrong with Aluminium MIG is different; but with equally devastating consequences.

Before the final point - explaining - Gas metal arc welding [Wikipedia], commonly known as MIG and/or GMAW, is the one-and-only general-purpose high-productivity manual "workshop" welding process for most metals at the current time (writing in early 2023; with no change presenting as imminent).

So the warning is - I was right before with stainless-steel, and there is a high probability that I am right and correctly prophecising the imminent future for aluminium.

My next birthday will be my 60th; I have served a long "apprenticeship"; you'd better correctly judge yourself to be very well-informed if you disregard my warning, which has proved correct previously; and finally I now have better things to do than expend time on people who do not talk sense themselves.

The case encountered 5 years ago for MIG/GMAW stainless steel

I chanced to meet someone living nearby who explained he hires-out road-sweepers. The relevant application for his business being the commercial use on construction-sites, in quarries, etc, to suppress dust nuisance.
Their suctioned-up fluid tank is a low-C lower-Cr stainless - "cromweld"; 3CR12; 1.4003.

I went to "weld test" / "test-out" 5 years ago at the Company which makes/made these sweepers far away in another part of the UK.

I prophecied then those 5 years ago that they would lose production overseas if they did not elevate their weld quality to at-least par. Abandoning the entrenched absurd nonsensical practices I encountered them doing.

I showed them the weld they needed; but had further to go myself before I was confident to say "Everything you see around you, and your jobs, will be gone if you do not improve your welding with something like this sample weld I am showing you here".

At minimum the stainless steel tanks are now made in Latvia. Some time in the last 5 years production has indeed shifted overseas.

Apparently - I only have word for this; no observation or evidence - the weld quality is still very poor. But it is much cheaper at the same "poorness".

What the Company were doing with their stainless MIG welding

MIG - to "lower heat input" "needed for stainless-steel" they'd cut their voltage by about 20% ; then doubled their fillet size to "puddle-up" and get the weld to flow.

The "lower the voltage 20%" is "the low heat-input orthodoxy". "Low heat input is specified : that's what you do" (sic.)
This is how it all goes so wrong here...

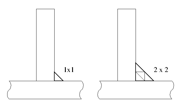
Double the fillet-size = quadruple the amount of metal and heat.
This is what rote-learning and a linear list of not-understood objectives can cause...
Size is a linear ratio - its fundamental dimensions are metres (a weld would be in millimetres).
The amount of metal in a weld with size is an area-ratio, which has a "squared" dependence of dimension. Its fundamental dimension is the metre-squared; metres x metres; m^2; metres to the power two.
If you double the fillet size, the area is 2x2=4 times bigger.

I've illustrated it here...

The weld length stays the same, so you remain at that squared-ratio.

There is your four times the heat. Each unit of metal carries an amount to heat. You increase your heat four-fold.

"Low heat input orthodoxies" increased their heat input 3-fold.
They had frequently both

and which is an absurd contradiction, as heat normally gives fluidity.

l-o-f's = their tanks leak and they have to seal them with tar, my contact says.

My experience and what I offered

Walking through the workshop to the bench where they "trade-tested" welders ("welders-the-persons"), I saw frequent "burn-through" defects - where for a fillet weld [Wikipedia] the molten pool of the weld melted all the way through the thickness of the metal being welded. Which for reactive-when-molten metals like stainless steel reacts with the air; separated from the shielding-gas of the welding process on the other side of the metal. It can look something like this .

Shown the weld "specification" they sought, I could see it was a low-energy "dip-transfer" mode.
(very technical - search for yourself online if needed; however I have "datalogged" and graphed dip-transfer being one of the first to achieve that with cheap equipment)
Frequently problematic if used inappropriately outside its niche.

Another candidate welder-the-person was "Coded" in awkward "positional" MIG welding, so could do something which looked alright aiming to match the "example weld" (though "look alright" doesn't necessarily mean "is right").

Foreman "dotting the i's and crossing the t's" with that candidate, I tuned the welding machine into spray transfer and put in a small neat slightly concave fillet (good sign of fluidity).

Something like this (in cross-section) - which gives a cascade of advantages, immediate and potential.

Foreman comes back to politely thank me for attending and jumps, asking in a gabbled surprise
"You just did that?!"
staring at the weld.
(me)
"Yup. Here's the weld you want."

I was not offered the job, and production of the tanks has now been moved elsewhere in the World - as I foresaw.
As I could have forestalled.

The sad, unusual, thing in this case was that the Company leadership was far less to blame, and the main fault was on the shop-floor. The Company provided an excellent specification shielding gas - an Ar-He-CO2 (surely expensive) - which gave my "beautiful" spray-transfer sample weld. The shop-floor leadership "threw it all away" doing this nonsensical low-energy dip-transfer, for which any gas would have given equal bad outcome.
The more common situation, that the welders "soldier on" with inadequate equipment, poor consumables and run-out of replacement wearing parts for the machines, was not the case here, as far as I could see.



(R. Smith, 14Jan2023, 16Jan2023 (edits, addns), 17Jan2023 (20pct, area-fig, ed.), 18Jan2023 (ed.), 22Feb2023 (my weld fig.))